半岛外围网上直营

products

产品中心

产品类别

Category

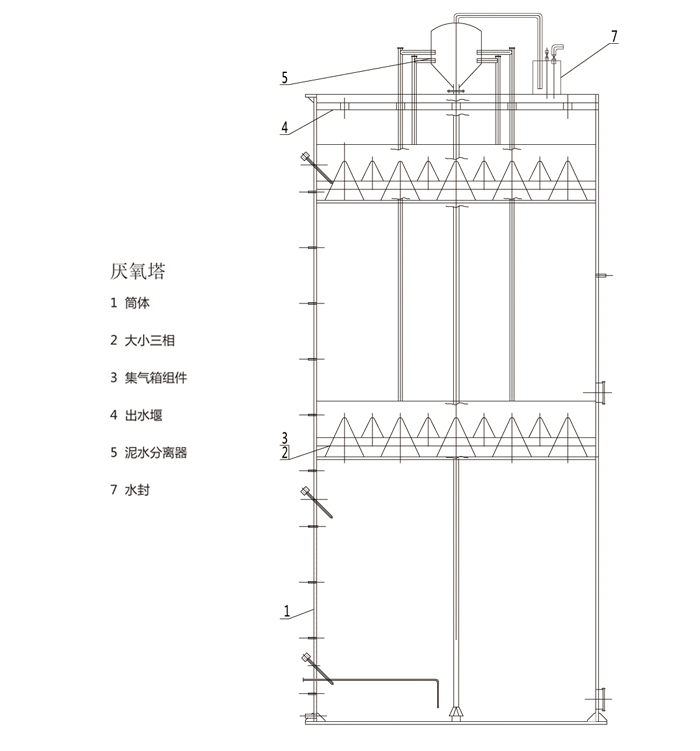
厌氧塔

厌氧塔为水处理关键设备,本公司依托控股公司江苏开磷新材料产业研究设计有限公司已成功设计制造安装多套污水处理装置。

扫一扫

浏览我司移动平台

江苏鑫科天建化工设备制造有限公司 版权所有(C)2024 网络支持 著作权声明 网站地图

boyu·博鱼网上靠谱买球(官方)网站/网页版登录入口/手机版登录入口-最新版(已更新) 188BET知名网上盘口(官方)网站/网页版登录入口/手机版登录入口-最新版(已更新) 188BET外围最大导航(官方)网站/网页版登录入口/手机版登录入口-最新版(已更新) 雷火竞技网上滚球(官方)网站/网页版登录入口/手机版登录入口-最新版(已更新) 永利知名足球网址(官方)网站/网页版登录入口/手机版登录入口-最新版(已更新) boyu·博鱼最火大全(官方)网站/网页版登录入口/手机版登录入口-最新版(已更新) 188BET正规足球大全(官方)网站/网页版登录入口/手机版登录入口-最新版(已更新) PM娱乐城外围足球网站(官方)网站/网页版登录入口/手机版登录入口-最新版(已更新)